
GB2828.1-2003 計數抽樣檢驗程序 第一部分:按接收質量限(AQL)檢索的逐批檢驗抽樣計劃
GB/T9963-1998 鋼化玻璃
二、技術要求
2.1 尺寸類技術要求
1)長度尺寸要求:
長寬尺寸在0-2500mm范圍內尺寸公差要求為0~(-2)mm,此公差要求也適用于圓形鋼化玻璃。
2)對角線尺寸要求:
對角線尺寸要求在0-1000mm范圍內尺寸公差要求為1~(-2)mm,對角線尺寸在1000mm-3000mm范圍內尺寸公差要求為0~(-4)mm。
3)厚度尺寸要求:
厚度為3-3.5mm的尺寸允許偏差為±0.2mm,同一片玻璃厚薄差為0.25 mm;厚度為3.5-4.5mm的尺寸允許偏差為±0.3mm,同一片玻璃的厚薄差為0.3mm。
2.2 外觀類技術要求
1)爆邊要求:
每片玻璃每米邊長上允許長度不超過10mm,自玻璃邊部向玻璃板表面延伸深度不超過2mm,自板面向玻璃厚度延伸深度不超過厚度三分之一的爆邊。
2)劃傷要求:
寬度在0.1mm以下的輕微劃傷,每平方米面積內允許存在長度小于50mm的4條;寬度在0.1mm以上0.5mm以下的長度小于50mm的允許1條。
3)結石、裂紋、缺角、夾鉗印要求
結石、裂紋、缺角、夾鉗印要求均不允許存在。
4)鋼化玻璃氣泡要求:
氣泡與氣泡之間的間距大于300mm。每塊玻璃上2mm²的氣泡不超過2個,1mm²的氣泡不超過6個。
5)夾雜物要求
≧3*0.5mm的有色的夾雜物為不合格;
〈3*0.5mm的夾雜物在滿足間距大于300mm、距離邊緣8mm的條件下為合格;
〈3*0.5mm的夾雜物在以上的區域外,滿足眼睛到玻璃的距離為100cm的條件下1.5的視力裸視,同時在夾雜物背面墊一藍色的電池片,夾雜物不可見為合格,可見為不合格。
6)磨邊要求
磨成C型邊,四個邊角倒角2-5mm,邊緣不允許有凸出。
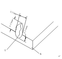
7)崩邊要求
按下圖所示。



2.3彎曲度
平型鋼化玻璃的彎曲度弓形時應不超過0.5%,波形時應不超過0.3%。
2.4 抗沖擊性能
滿足抗沖擊試驗的要求。
2.5 碎片狀態
取4塊鋼化玻璃試樣進行試驗,每塊試樣在50mm×50mm區域內的碎片數必須超過40個,且允許有少量長條形碎片,其長度不超過75mm,其端部不是刀狀,延伸至玻璃邊緣的長條形碎片與邊緣形成的角不大于45°。
2.6 鋼化玻璃透射率
要求在波長為400nm-1100nm的光譜范圍內的光透過率在91%以上。
2.7 抗風壓性能
要求鋼化玻璃抗風壓性能大于2400Pa。
三、檢驗方法
3.1 尺寸檢驗
尺寸用最小刻度為1mm的鋼直尺或鋼卷尺測量。
3.2 厚度檢驗
使用千分尺或與此同等精度的器具測量玻璃每邊的中點,測量結果的算術平均值即為厚度值。并以毫米(mm)為單位修約到小數點后二位。
3.3 外觀檢驗
以制品為試樣,在較好的自然光或散射光照條件下,距離玻璃表面1mm,1.5視力的肉眼進行檢查。
3.4 彎曲度檢驗
以平面鋼化玻璃制品為試樣。試樣垂直立放,水平放置直尺貼緊試樣表面進行測量。弓形時以弧的高度與弦的長度之比的百分率表示。波形時,用波谷到波峰的高與波峰到波峰(或波谷到波谷的距離之比的百分率表示)。
3.5 抗沖擊性能檢驗
3.6 鋼化玻璃透射率檢驗
3.7 抗風壓性能檢驗
3.8 碎片狀態試驗
3.8.1試樣從產品中隨機抽取。
3.8.2試驗設備為曝光和曬圖裝置。
3.8.3試驗步驟
3.8.3.1將鋼化玻璃試樣放在相同形狀和尺寸的另一塊試樣上,在兩塊試樣之間放上感光紙,并用透明膠帶紙沿周邊粘牢。
3.8.3.2在試樣的最長邊中心線上距離周邊20mm左右的位置, 用尖端曲率半徑為0.2mm±0.05mm的小錘或沖頭進行沖擊,使試樣破碎。
3.8.3.3感光紙應在沖擊后10s內開始曝光并且在沖擊后3min內結束。
3.8.3.4曬圖后,除去距離沖擊點80mm范圍內的部分,從圖中找出碎片最大的部分,在這部分中用50mm×50mm的矩形平面鋼化玻璃。
四、標志、包裝、運輸
4.1 包裝
產品應用木箱包裝。整箱玻璃應用塑料密封包裝,玻璃之間用紙間隔,玻璃與包箱之間用不易引起玻璃劃傷等外觀缺陷的輕軟材料填實。在塑料密封包裝中需要加入包裝干燥劑。具體要求應符合國家有關標準。
4.2 包裝標志
包裝標志應符合國家有關標準的規定,每個包裝箱應標明“朝上、輕搬正放、小心破碎、玻璃厚度、等級、廠名或商標、包裝年、月和禁止滾翻、怕濕”等字樣。
4.3 運輸
產品可用各種類型的車輛運輸,搬運規則、條件等應符合國家有關規定。運輸時,木箱不得平放或斜放,長度方向應與輸送車輛運動方向相同,應有防雨措施。
天津錦泰玻璃為您提供:耐高溫玻璃、耐高溫高壓玻璃、鍋爐視鏡、觀火鏡玻璃、高溫玻璃管、錫爐測試玻璃、高壓視鏡、耐高溫密封膠、耐高溫玻璃膠等產品
版權所有 © 天津錦泰特種玻璃科技有限公司 備案:津ICP備11001434號-2
